The Anderson powerpole is a great little connector family. A two-conductor version has be come the standard for 12vdc power in amateur radio and other arenas. A two-conductor red+black powerpole can now be found for under US$1.
Several vendors sell nice power distribution fuseboxes using powerpole connectors. These are great for their intended purpose, but large, expensive, overkill for some uses.

This project is about a small, lower-cost distribution board. Features: - Mini-blade automotive fuses (type ATM) - Four input/output powerpole connectors - expandable by cascading multiple boards - LED power-on indicator - optional LED fuse-blown indicators - 20A max per fuse (based on specification of the fuseholder)
This page about building your own is still under construction.

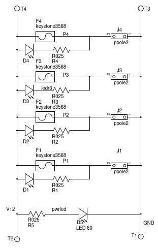
The main +12v Bus runs down the left of the schematic, from where it feeds the four fuse holders, each of which controls power to one of the Anderson connectors. It also connects to the large square terminals "T2" and "T4", to which individual wires can be soldered.
The ground/return bus runs down the right side of the schematic. It also connects to large terminals "T1" and "T4".
Power input, for example from a battery or line-powered supply can be fed to the board in one of two ways. If you need a main fuse, one of the powerpoles and is associated fuseholder can be used as the input and main. Alternately, if an external main fuse or breaker is present, power input wires can be soldered to large terminals T1 and T2. Be sure to get the polarity correct.
In parallel with each fuse holder is a "basic LED circuit" that acts as a fuse-blown indicator (D1-D4, R1-R4). Typically red LEDs are used for D1-D4. If a good fuse is installed, the LED circuit is shorted, so the LED never lights. If the fuse is blown or missing, and a load is connected to the corresponding powerpole, a tiny bit of current will trickle through the LED and its limiting resistor. This is generally enough to light the LED but not bother the load circuit, especially if the fuse blew because the load is a short circuit.
The fuse-blown LED and resistor can be omitted if not needed or not desired. If using one of the Anderson connectors as power input, do not install the fuse-blown indicator at that position (D1 and R1, if using J1 for input).
A power-on LED, D5 is also provided. I usually assemble this with a green LED.
The resistor values shown in the parts list are suggestions: they work well with modern high-efficiency LEDs. Adjust the values to provide more or less LED current if your LEDs end up too dim or too bright.
If you need more than 4 outputs, build two or more boards, set them end-to-end, and connect short, heavy jumper wires from terminal T3 and T4 on one board to terminals T1 and T2 on the next board. You could omit R5 and D5 (power indicator) on all but one board).
Bare boards are available from OSH Park
Solder components, lowest height first. Usually, resistors first, then LEDs, the fuse holders.
If you want a deluxe board, use the Powerpole PCB-Tail Pins. But they're a bit pricey, and you might not have them on hand.
Crimp short wires, say 1 1/2 inches of 16 gauge AWG stranded, into the powerpole pins, and assemble the pins into the housings. Pull off the remaining insulation so you have inch-long bare wires protruding from the powerpole. Thread the wires into the holes on the board, being sure that the red housing is towards the center of the board. Refer to the picture. Solder the powerpole wires.
Last, solder wires to the single-hole terminals T1-T4 for power input or power extension as desired.
Four round holes are provided four mounting the board to an insulating surface. You're on your own for appropriate standoffs and mounting hardware.
This board is perfect for a 3D-printed case. Have you built one? send me a link to it!
For more info about this project, contact Steve, K4TPF.